At WWDC 2016, Apple spent a large chunk of time launching its latest version of WatchOS, WatchOS 3. This all-new, spruced-up interface for the Apple Watch packs…
Apple has just launched iOS 10 at WWDC 2016, with a bunch of updates to features such as the lock screen, Siri, Photos, Messages and…
Apple Watch’s new SOS feature, one of the biggest new WatchOS 3 updates, means that Apple’s wearable could actually save your life, by contacting emergency…
Maserati has announced an overhaul for the Quattroporte sport saloon, three and a half years after it was launched. The new Maserati Quattroporte benefits from…
Vodafone Smart Platinum 7 unboxing: Vodafone’s follow-up to 2016’s Smart Ultra 6 takes things up a gear with a 2K screen and a metal and…
A video has emerged of a rider coming within inches of riding over a fellow TT racer who had crashed at the 37.73-mile Isle of Man…
The Driver and Vehicle Licensing Agency (DVLA) has seen a £223 million drop in revenue since the paper tax disc was axed in 2014. That’s…
Numb the pain of cheering on England with our UEFA Euro 2016 football drinking game, which can be played during any Euros match, but is…
A video of Jeremy Clarkson assembling a medium-sized cardboard box has been watched more than 1.4million times. The video, posted by fellow The Grand Tour…
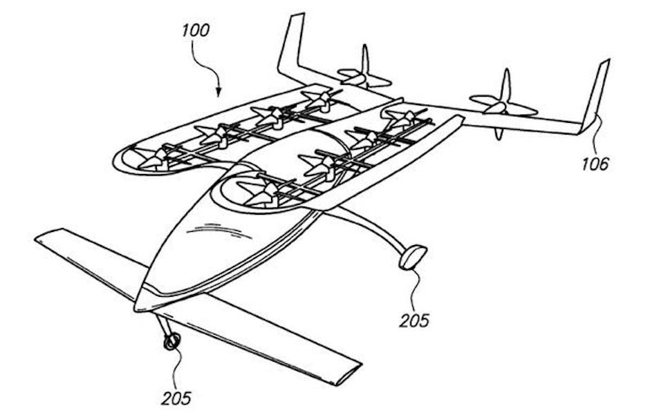
Forget the pursuit for a fully autonomous car. Google co-founder Larry Page is working on a flying car capable of vertical take-off and landing, according…
Our weekly roundup of the top news stories in the world of tech for the week beginning June 6th, 2016. Sony confirms the 4K-ready PlayStation…
Back in March Fiat unveiled a sporty 500 supermini. Now we can reveal the price and full UK specs for the 500S, which has just…
Full details and a UK price have been revealed for the new Mercedes C-Class Cabriolet, which is available to order now and will arrive in…
Our Vector 2 game review and guide takes a closer look at the parkour-packed sequel to the original and still-brilliant Vector for iPhone and Android…
Prices for BT Sport on TalkTalk TV have been revealed; £21.99/month plus £15 or £30 activation fees. That’s the same price that BT charges Sky…
We compare the new Moto Z and Moto Z Force phones with the Nexus 6P, to see which mobile packs the best specs, performance, battery…
What are Moto Mods, how do they work with the Moto Z, and what Moto Mods are launching with the Moto Z in 2016 here…
Our guide to the best Moto G4 and Moto G4 Plus features shows you how to get the most from your Moto phone, including getting…