Motorola MOTOLUXE en route O2, Orange, T-Mobile and Vodafone
We already know that the Motorola MOTOLUXE will be arriving in February here in the UK and now we know it will be gracing O2,…
We already know that the Motorola MOTOLUXE will be arriving in February here in the UK and now we know it will be gracing O2,…
We saw the Huawei Ascend P1 S at CES 2012 and were very impressed by just how much Huawei had crammed in: dual-cores, an AMOLED…
A design document showcasing images of the long anticipated BlackBerry 10 OS has been leaked to CrackBerry with four decent quality images conveying various aspects…
The Nokia camp has been pretty active these last few months. Their Windows Phone line has been received predominantly praise from tech-insiders and consumers alike…
The Vodafone 155 is a mobile phone with seniors in mind and focuses on making dialling numbers, calling and texting as accessible as possible –…
The HTC Desire was amongst the first handsets to catapult Android to the forefront of people’s minds and fanboy’s hearts, so what better homage to…
The HTC Endeavor, aka the HTC Edge was leaked in renders on PocketNow some time ago, but as of late it’s had a lot more…
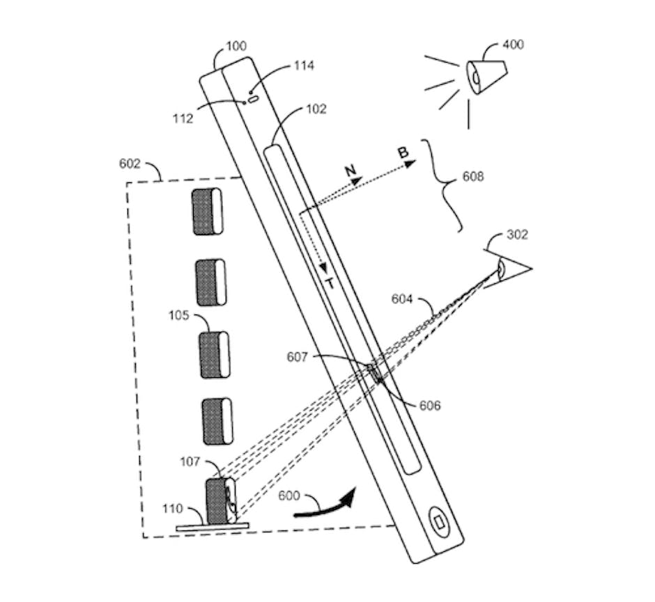
Apple have done it again, set the rumour mills ablaze with little more than a line drawing and a patent. This time, it looks like…
As with the Samsung Galaxy S2 before it, the Samsung Galaxy Note will be shipping in pink for the ultimate female focused phablet. The “Berry…
Since Google announced Android 4.0 Ice Cream Sandwich, many an HTC fan and critic alike questioned how the Taiwanese manufacturer would integrate Google’s evolved UI…
If you’ve got a family, young kids, teenagers or parents with some mobility issues and could do with being better aware of their location, Life360…
With all this talk of Google Drive ‘coming soon’, we’re not entirely sure what all the fuss is about, after all, Google have been dishing…
The bittersweet story of the Meego running Nokia N9 has just had seen a distinctly sugary twist in the form of an Android 4.0 port….
The Nokia Lumia 910 is the suspected European alternative to the Nokia Lumia 900. We say suspected as Nokia have offered no confirmation that Europe…
Yesterday marked the release of Google’s Chrome browser’s first foray into the world of Android, so we thought how better to celebrate than with a…
Ever since the Nokia N8 was released with its incredible industry leading 12-megapixel camera way back in 2009, we’re yet to find a cameraphone that…
The Nokia Belle update has started to roll out, bringing the latest version of Symbian to users with a Nokia N8, E7, C7, X7, E6,…
The Motorola MOTOLUXE smartphone was announced earlier this year along with the Defy MINI and has just had its launch in the UK confirmed for…
Confused by cars? In a muddle over mobiles? Bewildered by broadband?
Here at Recombu we demystify the world of motors, phones and the digital home. We provide the very latest breaking news, impartial, independent reviews, entertaining videos, Features and informative guides that will usher you through the baffling process of reading about, comparing and buying your favourite products and services.
Recombu is run by experienced journalists, each with decades of experience in their respective fields. We've whiled away our best years acquiring expert knowledge which we're keen to share, whether your interest is in passing or it's as fervent as our own. So if you're thinking of splashing out on a new phone, television, car or you're contemplating changing providers for your mobile, telephone, broadband or TV services, make sure you read, compare and buy with Recombu.